Composition of uCPE devices

An uCPE device additionally supports deploying VNFs (as in a virtual data center infrastructure). The uCPE software must be installed on an x86 server. Each such device includes a hypervisor and VIM (OpenStack in minimal configuration). The rest of components required for VNF orchestration are located in the data center. The softswitch on the uCPE device has an additional OS-data interface.

The orchestrator begins interacting with the VIM on the uCPE device after the device registers itself and connects to the SD-WAN managementTunnel transport service.

You can create a network service on a uCPE device that is in the Disconnected state. In this case, the orchestrator monitors the availability of the uCPE device and creates a network service when the VIM begins responding to API requests.

The VIM on the uCPE device is assigned by default to the tenant for which the SD-WAN instance is deployed, but you can select a different tenant.

When creating a network service, you must select a VIM for VNF deployment. You can select a VIM in the data center that which is associated with the tenant, or a VIM on the uCPE device. If you remove a uCPE device, all service chains deployed on that device are deleted.

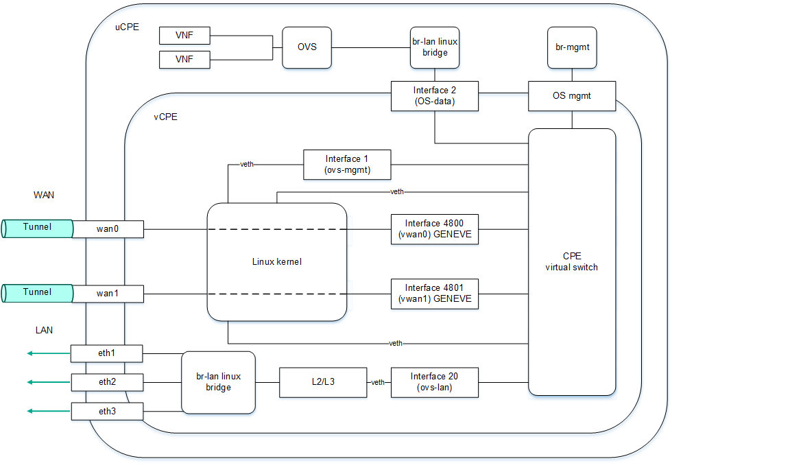
The figure below shows the logic diagram of a uCPE device.

The diagram shows all ports of a uCPE device, including the OS-data port, which supports the operation of VNF.

Logic diagram of a uCPE device

See also

Composition of CPE devices

Page top